Здравствуйте!
Представляем вам последний дайджест новостей e-commerce за июнь 2017 года. Мы расскажем о самых интересных событиях, которые произошли в сфере электронной коммерции в прошлом месяце.
ФНС разрешила брать напрокат дорогостоящие кассы
Федеральная налоговая служба (ФНС) официально дала добро сдавать новую контрольно-кассовую технику (ККТ) в аренду бизнесу. Новые кассы обходятся предпринимателям довольно дорого — как минимум, в 35 тысяч рублей. Возможность взять их в аренду позволит оперативнее перейти на требования нового закона 54-ФЗ. Ежемесячная плата за кассу «под ключ» обойдётся примерно в 3 тысячи рублей.
С 1 июля 2017 года все бизнесмены, который уже имеют кассы, должны были заменить их на новые. С 1 июля 2018 года, на новую ККТ должны перейти те, кто работает на специальных режимах налогообложения — патенте и едином налоге на вмененный доход.
По предварительным подсчётам, для того, чтобы обеспечить всех предпринимателей, в нынешнем году требуется 1,2 миллиона касс.
При предоставлении ККТ в аренду бизнесменам должны будут оказать помощь в регистрации кассы в ФНС, предоставить услуги оператора фискальных данных, интегрировать магазин с популярными CMS-платформами и платежными сервисами, завести личный кабинет пользователя для мониторинга состояния касс и проводить сервисное обслуживание аппаратов.
По данным ФНС на конец июня, на новую технику было переведено более 600 тысяч субъектов бизнеса.
Почти половина интернет-магазинов не соответствует требованиям 54-ФЗ
Между тем, поправки в 54-ФЗ о переходе на новый порядок применения контрольно-кассовой техники оказались готовы реализовать далеко не все интернет-магазины. «Левада-Центр», Ассоциация компаний интернет–торговли (АКИТ) и компания АТОЛ провели исследование, которое показало, что лишь 28% интернет-магазинов готовы работать по новым правилам.
Исследование было проведено с 15 по 22 июня, опрашивали владельцев и ведущих менеджеров 600 российских компаний, имеющих представительство только в интернете.
13% интернет-ритейлеров заявили, что находятся на стадии тестирования технического решения, 16% только-только выбрали подходящую разработку. 43% интернет-магазинов пока не сделали ничего для реализации поправок в 54-ФЗ.
Главные трудности, о которых заявили ритейлеры — отсутствие бюджета на переоснащение, непонимание технических аспектов переоснащения, отсутствие технических решений (12%).
Новый порядок обязывает интернет-магазины использовать онлайн-кассу для формирования в момент расчета фискального чека и отправлять его покупателю на e-mail или телефон, указанные в заказе. ФНС уже уточнила, что если ритейлер уже на данный момент принял необходимые меры (заключил договор с изготовителем о поставке фискального накопителя), привлекать к ответственности и штрафовать его не будут.
Яндекс.Касса начала принимать оплату в Viber
Сообщение в Viber с платежной ссылкой
Исследования показывают, что всё больше покупателей в России заказывают и платят со смартфонов. Яндекс.Касса, благодаря партнёрству с сервисом Imobis, позволяет принимать оплату в магазинах и сервисах в мессенджере Viber. На данный момент его используют 82 миллиона россиян.
Для того, чтобы всё заработало, достаточно указать параметры магазина из Яндекс.Кассы в личном кабинете Imobis. После этого продавец может отправлять клиентам сервисные сообщения с деталями заказа, суммой и кнопкой оплаты (под ней будет располагаться платёжная ссылка, которая формируется автоматически). Нажав на кнопку, покупатель увидит привычную страницу Яндекс.Кассы с выбором платёжных методов: банковские карты, электронные кошельки, интернет-банки и так далее.
Уточнять у каждого покупателя, пользуется ли он Viber, кстати, необязательно. Если клиента нет в мессенджере, сообщение со ссылкой для оплаты отправится в СМС (отправка смс немного дороже).
Ранее в Яндекс.Кассе сообщили о введении Telegram-бота Imobis, который позволяет создать сообщение-счёт в буквальном смысле одной рукой.
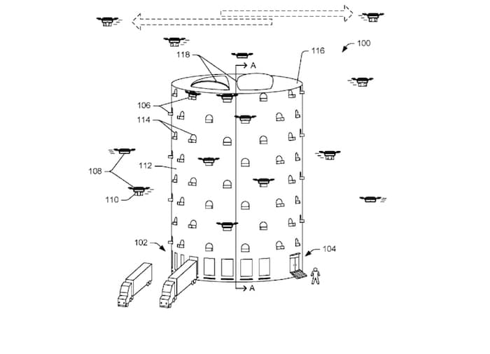
Amazon запатентовал высотные ульи-склады для дронов
Схема многоуровневого склада для дронов
Компания Amazon развивает доставку семимильными шагами: на сайте Патентного ведомства США появились документы с информацией о многоуровневых складах для парковки дронов. Строения похожи на ульи, их можно строить в самых густонаселенных районах и центральных частях крупных городов. Многоэтажные склады станут местом для парковки дронов, которые Amazon намерена активно использовать для экспресс-доставки грузов.
Применять беспилотники для решения логистических проблем хотят и в России. В формирующейся до 2025 года Стратегии развития электронной торговли Минпромторг РФ предложил использовать инновационные технологии. Переговоры с компаниями о возможности использования дронов для доставки грузов уже ведёт «Почта России». Пока процесс тормозится отсутствием необходимого для развития проекта количества заказов, а также тем, что в России нет законов, которые регламентировали бы перевозки грузов беспилотниками.
Стратегию развития электронной торговли в России Минпромторг формирует совместно со Сбербанком. В ней говорится об инфраструктуре, которая позволит доставлять товары из интернет-магазинов в срок до трех суток по разумной цене. Для решения проблем логистики планируется применять дирижабли, дроны, 3D-принтеры и прочие инновационные разработки.
Вышел свежий рейтинг разработчиков интернет-магазинов
На сайте ratingruneta.ru появился новый рейтинг подрядчиков для создания интернет-магазинов. Авторы исследования изучили 19 202 онлайн-проекта. Для каждого интернет-магазина компания SimilarWeb определила посещаемость, а их коллеги из InSales провели тематическую разметку.
Все участники рейтинга — компании, для которых разработка интернет-магазинов является одной из основных услуг. Изучить информацию о них более детально можно кликнув на карточки и сайты участников рейтинга.
Google рассказал, как онлайн-реклама влияет на офлайн-продажи
В Google рассказали о новом решении Store Sales Direct (Beta) в AdWords, которое позволит рекламодателям оценить влияние онлайн-рекламы на офлайн-продажи. Подробности были презентованы на конференции Think With Google. Через хэшированные данные email адресов в компании определят эффективность влияния онлайн-действий на покупки, совершенные в офлайн. В Google выяснили, как часто российские пользователи пользуются поиском, социальными сетями, форумами и прочими источниками информации в Сети.
Также в Google AdWords появилась возможность отслеживания конверсий-звонков для российских пользователей. Используя номера Google для переадресации, рекламодатели могут узнать, какие именно звонки и какой длительности привели к конверсии. Для понимания, из каких регионов пользователи, будут анализироваться коды звонков. По данным Google, до 90% мобильных конверсий происходят в ходе телефонного звонка, что важно для организации работы call-центра.
Презентации с конференции Think With Google можно скачать здесь.
Госдума хочет запретить онлайн-витрины с алкоголем
Госдума представила пакет законопроектов, которые предусматривают запрет онлайн-витрин с алкоголем. Разработчики пишут, что алкогольная продукция отнесена к перечню товаров, дистанционная продажа которых запрещена, но интернет-продажи алкогольных напитков в России, в пику запрету, увеличиваются по мере роста рынка электронной коммерции. Онлайн-витрины являются самым распространённым способом обхода закона.
Авторы законопроектов предлагают ввести административную и уголовную ответственность за продажу спиртосодержащей продукции дистанционным способом.
В первом чтении принят закон об агрегаторах
В Госдуме в первом чтении единогласно приняли поправки в закон «О защите прав потребителей», который разработал и внес Роспотребнадзор. Под регулирование попадают интернет-агрегаторы — торговые витрины онлайн-магазинов формата «Яндекс.Маркет», «Товары.Mail.Ru» и прочих.
Законопроект вводит определение «агрегатор товаров (услуг)». Это организации или индивидуальные предприниматели, которые предоставляют на своем сайте возможность потребителю ознакомиться с информацией о товаре или услуге, которую предоставляют третьи лица, заключить с фактическим продавцом договор купли-продажи и произвести предварительную оплату. Агрегаторы будут обязаны довести до сведения потребителя информацию о себе и продавце, а также будут нести ответственность за предоставление недостоверных данных и убытки, причиненные потребителю.
Агрегатор будет обязан возвратить сумму за покупку в течение десяти дней со дня предъявления претензий от потребителя, если товар или услуга не получены в указанный срок.
Для покупателей могут ввести наказание за необоснованные жалобы
И ещё одна новость, касающаяся отношений между продавцами и потребителями. Глава Минпромторга РФ Денис Мантуров предложил ввести наказание для россиян за необоснованные жалобы на ритейлеров. Он пояснил, что надуманные претензии потребителей в условиях развития онлайн-сервисов стали проблемой.
«Чтобы вернуть ситуацию в разумное русло, мы считаем необходимым исключить рассмотрение анонимных обращений и предусмотреть ответственность за заведомо необоснованные жалобы», — прокомментировал свою позицию министр. — Сегодня настолько просто подать жалобу через интернет, что многие этим правом, к сожалению, злоупотребляют».
Стратегию развития электронной торговли на период до 2025 года, о которой говорилось выше, Минпромторг должен разработать до конца 2016 года. Предполагается, что в документе будет снят ряд ограничений по торговле отдельными группами товаров через интернет. Также планируется уравнять в правах иностранные и российские онлайн-магазины (вменить иностранным ритейлерам НДС в случае реализации товаров россиянам).
По материалам Известий, http://bankir.ru/, Патентного ведомства США, Блога Яндекс.Кассы, РБК
Хотите обсудить новости? Оставляйте свои комментарии!
Подготовила Виктория Чернышева.
Ян Кулаков
Ян — руководитель отдела контент-маркетинга в CS-Cart с опытом работы более 10 лет в электронной коммерции. Он умеет объяснять сложные вещи простыми словами и разбирается в создании, управлении и развитии маркетплейсов. Ян увлекается обучением людей лучшим практикам, новым технологиям и трендам в eCommerce.














